Перейти к содержанию

Shelly Wave Door/Window EU

Материал из База знаний Shelly

Идентификация устройства

[править]

Устройство: Shelly Wave Дверь/Окно (ЕС)Номер детали ЕС/Код заказа: QNDW-002CEUZ-Wave ID типа продукта: 0x0100Z-Wave ID продукта: 0x0081Z-Wave Производитель: Shelly EuropeZ-Wave ID производителя: 0x0460

Терминология

[править]

Нажмите здесь, чтобы показать/скрыть

  • OTA - Обновление прошивки по беспроводной сети.
  • FW -Прошивка
  • ZAF -Z-Wave® протокол
  • NIF - Информация об узле. Кадр, отправляемый при каждом добавлении (включении) для демонстрации/рекламы возможностей устройства. к шлюзу, чтобы он мог настроить свои рабочие возможности.
  • CC -Класс команд (центральный элемент взаимодействия ZAF). Файлы/процессы, определяющие способ отправки и обработки/получения данных. Классы команд включают в себя их сигнатуры при отправке данных, что позволяет распознать, какой процесс отправляет данные для целевого устройства.
  • Переключатель - Тумблерный переключатель или бистабильный переключатель.
  • Кнопка - Кнопочный переключатель или моностабильный переключатель.
  • Переключатель/кнопка -Может быть переключателем или кнопкой.
  • Двойное нажатие -Если задержка между первым и вторым нажатием переключателя/кнопки составляет менее 500 мс, это интерпретируется как двойное нажатие.
  • Шлюз (GW) - Шлюз Z-Wave®, также называемый контроллером Z-Wave®, главным контроллером Z-Wave®. Основной контроллер Z-Wave®, или концентратор Z-Wave® и т. д., — это устройство, которое служит центральным узлом для сети умного дома Z-Wave®. В этом документе используется термин «шлюз».
  • Меш-сеть — устройства могут взаимодействовать друг с другом помимо шлюза. Устройства (только работающие от сети) могут выступать в качестве ретрансляторов для расширения сети.
  • Сеть дальнего действия - устройства могут взаимодействовать только со шлюзом (функция ретранслятора отсутствует).
  • Кнопка S - Сервисная кнопка Z-Wave®, расположенная на устройствах Z-Wave® и используемая для различных функций, таких как добавление (включение), удаление (исключение), сброс устройства до заводских настроек и включение/выключение выходной мощности (действительно только для вилок Wave). Термин «кнопка S» используется в этом документе.
  • Устройство - В этом документе термин «Устройство» используется для обозначения устройства Shelly Wave, которое является предметом данного руководства.
  • Конечное устройство -Конечные устройства Z-Wave — это узлы в сети Z-Wave, которые не являются шлюзами, такие как выключатели, дверные замки, датчики и т. д.
  • Идентификатор узла -Идентификатор узла Z-Wave — это уникальный идентификатор, присваиваемый при добавлении (включении) каждого устройства в сети Z-Wave, позволяющий сети идентифицировать это устройство и взаимодействовать с ним.
  • Идентификатор дома -Идентификатор дома Z-Wave — это уникальный идентификатор, присваиваемый каждой сети Z-Wave и каждому устройству в этой сети. Это отличает вашу сеть Z-Wave от других сетей и гарантирует, что ваши устройства Z-Wave будут взаимодействовать только с устройствами в вашей собственной сети.
  • Добавление/Включение —Процесс добавления устройства Z-Wave в сеть Z-Wave — шлюз. В этом контексте используются слова «включен», «добавлен» и т. д.
  • Удаление/Исключение —Процесс удаления устройства Z-Wave из сети Z-Wave — шлюз. В этом контексте используются слова «исключен», «удален» и т. д.
  • Сброс к заводским настройкам — После сброса к заводским настройкам все пользовательские параметры и сохраненные значения (кВтч, ассоциации, маршрутизация и т. д.) вернутся к своим значениям по умолчанию. Идентификаторы HOME ID и NODE ID, назначенные устройству, будут удалены. Используйте эту процедуру сброса только в том случае, если шлюз отсутствует или неисправен по другим причинам.
  • Нормальный режим — это состояние устройства, которое относится к рабочему состоянию устройства при его работе в обычных условиях (включение/выключение, затемнение и т. д.) как во время активного использования, так и в режиме ожидания, но при этом при включенном питании.
  • SmartStart — Устройства с поддержкой SmartStart можно добавить (включить) в сеть Z-Wave, отсканировав QR-код Z-Wave на устройстве с помощью шлюза, поддерживающего включение SmartStart. Устройство с поддержкой SmartStart будет автоматически добавлено в течение 10 минут после включения вблизи сети Z-Wave.
  • ОБЯЗАТЕЛЬНО -ОБЯЗАТЕЛЬНО должно быть реализовано
  • ДОПОЛНИТЕЛЬНО - реализуйте, если позволяет время/бюджет
  • Ассоциации - Ассоциации используются для прямой связи между устройством и другими устройствами в вашей сети Z-Wave без необходимости использования шлюза Z-Wave.
  • Перезагрузка - Перезагрузка устройства/источника питания Включение/выключение устройства
  • Жалюзи -Относится к любому виду оконных покрытий, таким как венецианские жалюзи, рулонные жалюзи (экраны), рольставни, вертикальные оконные жалюзи, шторы, встроенные венецианские жалюзи, плиссированные жалюзи, навесы и т. д. Кроме того, Wave Shutter может также управлять оконными двигателями, проекционными экранами или любым типом двунаправленного двигателя переменного тока.
  • Потребляемая мощность (Вт) -обозначает скорость потребления или использования энергии электрическим устройством или системой. Измеряется в ваттах (Вт).
  • Потребление энергии (кВт·ч) - обозначает общее количество электрической энергии, потребляемой устройством или системой за определенный период времени. Измеряется в киловатт-часах (кВт·ч).
  • Код заказа - Код заказа совпадает с номером детали (PN). Там, где недостаточно места для написания кода заказа, используется аббревиатура PN. Номер детали указан на этикетке DSK на каждом устройстве.

Краткое описание

[править]

Устройство представляет собой датчик Z-Wave®, предназначенный для обнаружения открытия и закрытия дверей или окон. Помимо простого обнаружения, он также может измерять угол наклона дверей или окон, которые наклоняются или поворачиваются. Кроме того, датчик оснащен встроенным датчиком освещенности, что обеспечивает расширенные функциональные возможности для автоматизации умного дома.

== Основные функции == Нажмите здесь, чтобы показать/скрыть

Основные области применения

[править]
  • Жилые дома
  • Многоквартирные дома (квартиры, кондоминиумы, отели и т. д.)
  • Небольшие коммерческие помещения (небольшие офисные здания, небольшие магазины/рестораны/автозаправочные станции и т. д.)
  • Государственные/муниципальные учреждения
  • Университеты и колледжи

== Интеграции == Устройства Shelly Wave разработаны на основе ведущей в мире технологии для умных домов — Z-Wave. Это означает, что Shelly Wave работает со всеми сертифицированными шлюзами, поддерживающими протокол связи Z-Wave. Чтобы убедиться в поддержке функций продуктов Shelly Wave на вашем шлюзе, мы регулярно проводим тесты совместимости наших устройств с различными шлюзами Z-Wave.

== Подключение == Z-Wave — незащищенный, безопасность S0, безопасность S2 без аутентификации, S2 Аутентифицированная безопасность

Пользовательский интерфейс

[править]

=

Кнопка S и режимы работы

[править]

=

  • Однократное нажатие (<0,5 с):
  1. Пробуждение устройства
  2. Устройство не включено, синий светодиод мигает один раз
  3. Устройство включено, зеленый светодиод мигает один раз, если шлюз отвечает «Пробуждение. Больше информации нет»
  4. Устройство включено, зеленый светодиод мигает 10 секунд, если шлюз не отвечает «Пробуждение. Больше информации нет»
  • Режим настроек: необходим для запуска нужной процедуры, например: добавление (включение (
  • недоступно для дальнего действия)), удаление (исключение), сброс к заводским настройкам и т. д. Имеет ограниченное время работы. После завершения процедуры в режиме настроек устройство автоматически переключается в обычный режим.
  • Вход в режим настроек:
  1. Нажмите кнопку S (>0,5 с)
  2. Устройство НЕ включено: светодиод горит синим цветом.
  3. Устройство включено: светодиод горит зеленым цветом 0,5 секунды, затем синим.
  4. Дополнительное быстрое нажатие кнопки S изменяет меню в бесконечном цикле.
  5. Режим настроек имеет тайм-аут 10 секунд до повторного перехода в обычный режим. =

Функции кнопки S

[править]

=

  • Добавление устройства в сеть Z-Wave вручную (
  • недоступно для включения на большом расстоянии)
  • Удаление устройства из сети Z-Wave вручную
  • Сброс настроек устройства до заводских
  • Пробуждение

Светодиодная индикация

[править]

Нажмите здесь, чтобы показать/скрыть=

Общие правила

[править]

=

  • Переключение между обычным режимом и режимом настроек осуществляется нажатием и удержанием кнопки S.
  • «Постоянно горит светодиод» означает, что вы находитесь в «режиме настроек». После перехода в режим настроек переключение в обычный режим происходит автоматически через 10 секунд.
  • Нажатие кнопки S активирует светодиод на 1 секунду, а включение/выключение питания устройства активирует светодиод на 10 секунд.
  • Во время загрузки модуля светодиод будет мигать в режиме 5 (0,2 с синим/0,2 с красным) в течение 4-5 секунд. Состояние светодиода в обычном режиме: Обычный режим определяется стабильной работой устройства, которая может оставаться в течение неограниченного времени. Тип светодиода: RGB с регулировкой яркости. Обычный режим. Удалено/Исключено. В режиме 1 светодиод будет мигать синим цветом в течение 30 секунд после каждого выключения и включения питания и в течение 30 секунд после нажатия кнопки S. Добавлено/Включено. В режиме 1 светодиод будет мигать зеленым цветом в течение 10 секунд после каждого выключения и включения питания и в течение 1 секунды после нажатия кнопки S. Выполнение настроек. Сброс к заводским настройкам и перезагрузка. Во время сброса к заводским настройкам светодиод будет гореть зеленым цветом примерно 500 мс, затем в режиме 1 будет мигать синий светодиод. Добавление/удаление. Во время добавления или удаления светодиод будет мигать синим цветом в режиме. 2. Обновление прошивки OTA. Во время обновления OTA светодиод будет мигать синим и красным цветом в режиме 2.

== Режим настроек с кнопкой S == Выбрано меню добавления/удаления (

  • добавление недоступно для включения на большом расстоянии). При выборе меню светодиод будет гореть синим цветом максимум 10 секунд. Меню добавления/удаления - при нажатии кнопки S - выбран процесс добавления/удаления (
  • добавление недоступно для включения на большом расстоянии). Во время выполнения меню светодиод будет мигать синим цветом в режиме 3. Выбрано меню сброса к заводским настройкам. При выборе меню светодиод будет гореть красным цветом максимум 10 секунд. секунд. Сброс к заводским настройкам - при нажатии кнопки S - выбран процесс сброса к заводским настройкам. Во время выполнения меню светодиод будет мигать красным в режиме 3.

Режим тревоги

[править]

NA

Режимы мигания светодиода

[править]

Нажмите здесь, чтобы показать/скрыть { | class="wikitable" | - ! Режимы мигания светодиода | - | Режим 1 | 0,5 с Вкл/2 с Выкл | - | Режим 2 | 0,5 с Вкл/0,5 с Выкл | - | Режим 3 | 0,1 с Вкл/0,1 с Выкл | - | Режим 4 | (1x до 6x - 0,2 с Вкл/0,2 с Выкл) + 2 с Выкл | - | Режим 5 | 0,2 с Вкл синий/0,2 с Вкл красный | } |}

Технические характеристики

[править]
Рис.1=

Условные обозначения

[править]

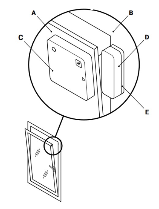
=A: Датчик освещенностиB: Кнопка SC: МагнитD: Блок датчикаE: Светодиодная индикацияF: Защитная пленка для батареиФайл:Скриншот 2024-10-08 143233-20241008-123356.pngРис.2Рис.3Рис.4Рис.5Рис.6Рис.7

Первые шаги

[править]

Устройство поставляется готовым к использованию с установленной батареей. Перед использованием устройства снимите защитную пленку с батарейного отсека, чтобы активировать батарею. Однако, если нажатие кнопки не приводит к началу подачи сигналов устройством, возможно, потребуется вставить батарею. См. раздел «Замена батареи».

Монтаж

[править]

Вы можете разместить Магнит располагайте слева, справа, сверху или снизу от блока датчика. Если вы хотите контролировать дверь или окно, которые наклоняются и поворачиваются, установите блок датчика (C) на дверь или окно (A), а магнит (D) на раму (B), как показано на рис. 3. Используйте прилагаемые двусторонние поролоновые наклейки, чтобы закрепить блок датчика и магнит на двери или окне и раме. В зависимости от рамы двери или окна, вам может потребоваться выровнять магнит и блок датчика, приподняв один из них с помощью прокладок (E). Если вы хотите контролировать обычную дверь или окно, мы рекомендуем, по возможности, установить блок датчика на раму, а магнит на дверь или окно.

Замена батареи

[править]
  1. Откройте заднюю крышку, как показано на рис. 4.
  2. Извлеките разряженную батарею, сначала протолкнув ее через вырез в держателе батареи, а затем вытащив, как показано на рис. 5.
  3. Вставьте новую батарею, как показано на рис. 6.
  4. Установите заднюю крышку на место, прижав ее к блоку датчика под четырьмя углами. до тех пор, пока не услышите щелчок, как показано на рис. 7.

О Z-Wave®

[править]

Добавление и удаление устройства из сети Z-Wave® ==Нажмите здесь, чтобы показать/скрыть

[править]

Добавление устройства в сеть Z-Wave® (включение) ==

[править]

Внимание!' В случае добавления (включения) уровня безопасности 2 (S2) появится диалоговое окно с запросом на ввод соответствующего PIN-кода (5 подчеркнутых цифр), указанного на этикетке Z-Wave® DSK на боковой стороне устройства и на этикетке Z-Wave® DSK, вставленной в упаковку.'ВАЖНО: PIN-код не должен быть «Потеряно». Добавление (включение) устройств с поддержкой SmartStart. Устройства с поддержкой SmartStart можно добавить в сеть Z-Wave®, отсканировав QR-код Z-Wave®, расположенный на устройстве, с помощью шлюза, обеспечивающего включение SmartStart. Никаких дополнительных действий не требуется, и устройство SmartStart будет добавлено автоматически, как только устройство с батареей активируется в сети.
  1. С помощью приложения шлюза отсканируйте QR-код на этикетке устройства и добавьте ключ безопасности 2 (S2) Device Specific Key (DSK) в список инициализации в шлюзе.
  2. Активируйте устройство.
  3. Проверьте, мигает ли синий светодиод один раз. Если да, то устройство не добавлено в сеть Z-Wave®.
  4. Добавление будет инициировано автоматически в течение нескольких секунд после активации устройства, и устройство будет автоматически добавлено в сеть Z-Wave®.
  5. Синий светодиод будет мигать в режиме 2 во время процесса добавления.
  6. Зеленый светодиод будет В режиме 1 светодиод мигает, если устройство успешно добавлено в сеть Z-Wave®. Добавление (включение) с помощью кнопки S (
  • недоступно для включения на большом расстоянии)
  1. Нажмите один раз и проверьте, мигает ли синий светодиод один раз. Если да, то устройство не добавлено в сеть Z-Wave®.
  2. Включите режим добавления/удаления на шлюзе.
  3. Чтобы войти в режим настроек, нажмите кнопку S (>0,5 с) на устройстве, пока светодиод не загорится синим цветом.
  4. Отпустите, а затем нажмите и удерживайте (> 2 с) кнопку S на устройстве, пока синий светодиод не начнет мигать в режиме 3. Отпускание кнопки S запустит режим обучения.
  5. Синий светодиод будет мигать в режиме 2 во время процесса добавления.
  6. После успешного добавления устройства в сеть Z-Wave® светодиод останется выключенным. Чтобы подтвердить включение устройства, снова нажмите кнопку S.