Перейти к содержанию

Настенный диммер Shelly Plus

Материал из База знаний Shelly

Идентификация устройства

[править]
  • Название устройства: Настенный диммер Shelly Plus
  • Модель устройства: SNDM-0013US
  • SSID устройства: ShellyPlusWDUS-XXXXXX

Краткое описание

[править]

Настенный диммер Shelly Plus (Устройство) может включать/выключать и регулировать яркость совместимых диммируемых светильников. Его можно легко подключить вместо стандартного американского выключателя света. Благодаря гибкости прошивки gen2, он предоставляет профессиональным интеграторам дополнительные возможности для решений для конечных пользователей. Он может работать автономно в локальной сети Wi-Fi или управляться через облачные сервисы домашней автоматизации. Доступ к настенному диммеру Shelly Plus, его настройка и мониторинг возможны из любого места, где у пользователя есть доступ к интернету, при условии, что устройство подключено к Wi-Fi-роутеру и интернету. Устройство имеет встроенный веб-интерфейс, который можно использовать для мониторинга и управления устройством, а также для настройки его параметров.

Функции

[править]
  • Ночной режим
  • Недельное расписание
  • Таймеры автоматического включения/выключения

Основные области применения

[править]
  • Жилые помещения
  • Многоквартирные дома (квартиры, кондоMiniумы, гостиницы и т. д.)
  • Небольшие коммерческие помещения (небольшие офисные здания, небольшие магазины/рестораны/автозаправочные станции и т. д.)
  • Государственные/муниципальные учреждения
  • Университеты/колледжи

Интеграции

[править]
  • Google
  • Amazon
  • Samsung SmartThings

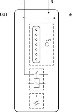
Упрощенная внутренняя схема

[править]

Электрические интерфейсы устройства

[править]

Входы

[править]
  • 2 линейных провода: 1 черный L и 1 белый N
  • 1 зеленый (заземление) провод

Выходы

[править]
  • 1 красный провод OUT

Подключение

[править]
  • Wi-Fi
  • Bluetooth

Поддерживаемые типы нагрузки

[править]
  • Лампы накаливания
  • Только диммируемые светодиодные лампы
  • Только диммируемые КЛЛ

Пользовательский интерфейс

[править]

Входы

[править]
  • Одна кнопка питания со светодиодной индикацией: Нажмите, чтобы включить/выключить свет. Нажмите и удерживайте 5 секунд, чтобы активировать точку доступа устройства. Нажмите и удерживайте 10 секунд, чтобы сбросить устройство до заводских настроек.
  • Один ползунок со светодиодной индикацией яркости: Сдвиньте вверх, чтобы увеличить яркость света. Сдвиньте вниз, чтобы уменьшить яркость света.

Выходы

[править]
  • Светодиодная индикация кнопки питания: Синий светодиод Wi-Fi*: Точка доступа включена, Wi-Fi выключен: мигает синий свет¹. Wi-Fi включен, но не подключен: медленно мигает синий свет². Wi-Fi подключен, но облако отключено или подключено к облаку: постоянно горит синий свет. Wi-Fi подключен и облако включено, но не подключено: синий индикатор мигает очень медленно³. Кнопка питания нажата и удерживается в течение 5 секунд: синий индикатор мигает быстро⁴. Кнопка питания нажата и удерживается в течение 10 секунд: синий индикатор мигает очень быстро⁵. OTA: синий индикатор мигает быстро⁴. Белый светодиод питания** (при включенных индикаторах): Точка доступа (AP) включена, Wi-Fi выключен: белый индикатор мигает¹. Wi-Fi включен, но не подключено: белый индикатор мигает медленно². Wi-Fi подключен, облако выключено или облако подключено: постоянный белый свет. Wi-Fi подключен, облако включено, но не подключено: белый индикатор мигает очень медленно³. Кнопка питания нажата и удерживается в течение 5 секунд: белый индикатор мигает быстро⁴. Кнопка питания нажата и удерживается в течение 10 секунд: белый индикатор мигает очень быстро⁵. OTA: белый индикатор мигает быстро⁴.
  • Индикация яркости светодиода: одна белая точка горит, когда индикаторы выключены. Каждое положение снизу вверх соответствует увеличению яркости на 14% (84-100% для верхней точки). Вертикальная полоса белых точек загорается, когда свет включается. Каждая загоревшаяся точка соответствует увеличению яркости на 14% (84-100% для верхней точки).
  • Синий светодиод Wi-Fi может быть включен (по умолчанию) или выключен пользователем.
    • Белый светодиод питания может быть настроен пользователем следующим образом: соответствовать выходному сигналу устройства (по умолчанию), инвертировать выходной сигнал устройства, всегда быть включенным

или всегда быть выключенным .

¹ 1 секунда ВКЛ / 1 секунда ВЫКЛ ² 1 секунда ВКЛ / 3 секунды ВЫКЛ ³ 1 секунда ВКЛ / 5 секунд ВЫКЛ ⁴ ⅕ секунды ВКЛ / ½ секунды ВЫКЛ ⁵ ⅕ секунды ВКЛ / ⅕ секунды ВЫКЛ

Технические характеристики

[править]
Тип Значение
Физические размеры
Размеры без лицевой панели и проводов (ВхШхГ): 104x44x39 ±0,5 мм / 4,09 x 1,73 x 1,50 ±0,02 дюйма
Размеры с лицевой панелью и без проводов (ВхШхГ): 120x70x39 ±0,5 мм / 4,72 x 2,76 x 1,50 ±0,02 дюйма
Вес без лицевой панели: 105 г / 3,70 унции
Вес с лицевой панелью: 121 г / 4,28 унции
Материал корпуса: ABS
Цвет: Белый
Условия эксплуатации
Температура окружающей среды: -20 °C до 40 °C / -5 °F до 105 °F
Влажность: 30 % до 70 % относительной влажности
Электрические характеристики
Напряжение питания переменного тока: 100 - 120 В, 50/60 Гц
Напряжение питания постоянного тока: Н/Д
Потребляемая мощность: < 3 Вт
Номинальные характеристики выходных цепей
Максимальная мощность нагрузки при 120 В переменного тока: 400 Вт (лампы накаливания) 150 Вт (только диммируемые светодиоды и КЛЛ)
Радио
Диапазон радиочастот: 2400 - 2495 МГц
Максимальная мощность радиочастот: <20 дБм
Протокол Wi-Fi: 802.11 b/g/n
Радиус действия Wi-Fi: До 30 м / 100 футов в помещении и 50 м / 160 футов на открытом воздухе (зависит от местных условий)
Протокол Bluetooth: 4.2
Радиус действия Bluetooth: До 10 м / 33 футов в помещении и 30 м / 100 футов на открытом воздухе (зависит от местных условий)
MCU
CPU: ESP32
Flash: 4 МБ
Возможности прошивки
Веб-хуки (действия по URL): 20 с 5 URL на каждый хук
Скриптинг: Да
MQTT: Да
CoAP: Нет

Схема подключения

[править]

Устранение неполадок

[править]

...

Компоненты и API

[править]
  • Это устройство
  • Все устройства и сервисы Shelly

Печатное руководство пользователя

[править]

Многоязычное печатное руководство пользователя и руководство по технике безопасности для настенного диммера Shelly Plus.pdf

Руководства по установке

[править]