Руководство пользователя и по технике безопасности Shelly Motion 2
Перед использованием прочтите
[править]Этот документ содержит важную техническую информацию и информацию по технике безопасности об устройстве, его безопасном использовании и установке.
⚠ ВНИМАНИЕ! Перед началом установки внимательно и полностью прочтите это руководство и любые другие документы, прилагаемые к устройству. Несоблюдение процедур установки может привести к неисправности, опасности для вашего здоровья и жизни, нарушению закона или отказу в предоставлении юридической и/или коммерческой гарантии (если таковая имеется). Компания Shelly Europe Ltd не несет ответственности за любые потери или повреждения в случае неправильной установки или неправильной эксплуатации данного устройства из-за несоблюдения инструкций по эксплуатации и технике безопасности, содержащихся в данном руководстве.
Введение в Shelly®
[править]Shelly® — это линейка инновационных устройств с микропроцессорным управлением, позволяющих дистанционно управлять электрическими цепями с помощью мобильного телефона, планшета, ПК или системы домашней автоматизации. Устройства Shelly® могут работать автономно в локальной сети Wi-Fi или управляться через облачные сервисы домашней автоматизации. Shelly Cloud — это сервис, доступ к которому можно получить с помощью мобильного приложения для Android или iOS, а также через любой интернет-браузер по адресу: https://home.shelly.cloud/ . Устройства Shelly® можно удаленно контролировать, управлять ими и отслеживать из любого места, где у пользователя есть доступ к интернету, при условии, что устройства подключены к Wi-Fi-роутеру и интернету. При прямом подключении к точке доступа устройства или по IP-адресу устройства в локальной сети Wi-Fi пользователь может получить доступ к встроенному веб-интерфейсу устройства Shelly® по адресу: http://192.168.33.1 . Встроенный веб-интерфейс можно использовать для мониторинга и управления устройством, а также для настройки его параметров. Устройства Shelly® могут напрямую взаимодействовать с другими устройствами Wi-Fi по протоколу HTTP. API предоставляется компанией Shelly Europe Ltd. Для получения дополнительной информации посетите: https://shelly-api-docs.shelly.cloud/#shelly-family-overview . Устройства Shelly® поставляются с предустановленной на заводе прошивкой. Если для обеспечения соответствия устройств требованиям, включая обновления безопасности, необходимы обновления прошивки, Shelly Europe Ltd предоставит обновления бесплатно через встроенный веб-интерфейс устройства или мобильное приложение Shelly, где доступна информация о текущей версии прошивки. Решение об установке или отказе от установки обновлений прошивки устройства является исключительной ответственностью пользователя. Shelly Europe Ltd не несет ответственности за любое несоответствие устройства требованиям, вызванное несвоевременной установкой пользователем предоставленных обновлений.
Управляйте своим домом голосом
[править]Устройства Shelly® совместимы с функциями Amazon Alexa и Google Home. Пожалуйста, ознакомьтесь с нашим пошаговым руководством по ссылке: https://shelly.cloud/support/compatibility/
Краткое описание
[править]Shelly Motion 2 (Устройство) — это высокочувствительный Wi-Fi датчик движения со сверхнизким энергопотреблением, который также оснащен датчиками освещенности и температуры. Встроенные датчики освещенности и температуры предоставляют дополнительные возможности для автоматизации дома или офиса. Shelly Motion 2 также имеет встроенный акселерометр для защиты от взлома и функцию обнаружения вибрации. Встроенный перезаряжаемый литий-ионный аккумулятор емкостью 6500 мАч позволяет Устройству оставаться подключенным к Интернету в режиме ожидания до 3 лет, а в режиме активной передачи (примерно 6 часов в день при обнаружении движения) — от 12 до 18 месяцев без подзарядки.
Узнайте больше о Shelly Motion 2 и его характеристиках
Установка
[править]⚠ВНИМАНИЕ! Не используйте устройство, если оно повреждено! ⚠ВНИМАНИЕ! Не пытайтесь ремонтировать или обслуживать устройство самостоятельно!
1. Зарядка
[править]
Перед использованием Shelly Motion 2 полностью зарядите аккумулятор, подключив кабель USB Type-C к зарядному порту устройства.
⚠ВНИМАНИЕ! Используйте только зарядные адаптеры, соответствующие стандарту USB-C. Не заряжайте устройство, если зарядный адаптер или зарядный кабель повреждены. Красный индикатор зарядки над зарядным портом будет гореть во время зарядки устройства. Индикатор погаснет, когда аккумулятор будет полностью заряжен.
⚠ВАЖНО: Во время зарядки устройство нагревается, что препятствует корректному измерению комнатной температуры.
2. Запуск
[править]
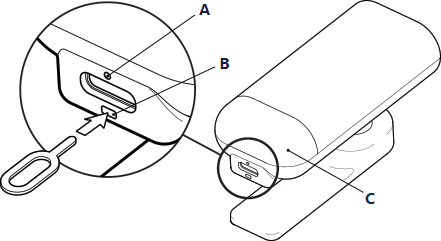
Кратковременно нажмите кнопку Reset (
B
) с помощью штифта, входящего в комплект, чтобы включить устройство.
⚠ВНИМАНИЕ!
Будьте осторожны, не вставляйте штифт в круглое отверстие индикатора зарядки (
A
). Кнопка Reset имеет продолговатую форму (
B
).
Светодиодный индикатор за линзой датчика движения (
C
) начнет последовательно мигать красным, зеленым и синим цветом в течение некоторого времени, а затем загорится синим цветом. Теперь устройство находится в режиме точки доступа (AP).
⚠ВАЖНО: Если датчик движения обнаружит движение, когда устройство находится в режиме точки доступа, светодиодная индикация на короткое время изменит цвет на голубой.
⚠ВАЖНО: Если устройство не будет добавлено в вашу сеть Wi-Fi в течение 3 минут, оно выключится. Кратковременно нажмите кнопку «Сброс», чтобы снова включить его. Нажатие кнопки «Сброс», когда устройство находится в режиме точки доступа, выключит устройство.
3. Включение в Shelly Cloud
[править]Если вы решите использовать устройство с мобильным приложением Shelly Cloud и сервисом Shelly Cloud, инструкции по подключению устройства к облаку и управлению им через приложение Shelly можно найти в Руководство по интеллектуальному управлению Shelly
Мобильное приложение Shelly и сервис Shelly Cloud не являются условиями для корректной работы устройства. Это устройство можно использовать автономно или с различными другими платформами и протоколами домашней автоматизации.
ВНИМАНИЕ! Не позволяйте детям играть с кнопками/переключателями, подключенными к устройству. Держите устройства для дистанционного управления Shelly (мобильные телефоны, планшеты, ПК) в недоступном для детей месте!
4. Ручное подключение к локальной сети Wi-Fi
[править]Устройством также можно управлять через встроенный веб-интерфейс. Убедитесь, что Shelly Motion 2 находится в режиме точки доступа (AP). Откройте веб-интерфейс устройства по адресу http://192.168.33.1 при прямом подключении к точке доступа устройства.
Нажмите кнопку «Интернет и безопасность»
а затем выберите «Режим Wi-Fi — клиент» . Установите флажок «Подключить устройство Shelly к существующей сети Wi-Fi», введите имя и пароль сети Wi-Fi и нажмите «СОХРАНИТЬ». Найдите IP-адрес вашего устройства в сети Wi-Fi. Вы можете использовать простой инструмент для поиска устройств Shelly в локальной сети: https://shelly.cloud/documents/device_finders/ShellyFinderWindows.zip
(Windows) и https://shelly.cloud/documents/device_finders/ShellyFinderOSX.zip
(Mac OSX).
⚠ВАЖНО: Включение режима клиента отключит режим точки доступа. Если вам снова понадобится режим точки доступа, нажмите и удерживайте кнопку Reset в течение 5 секунд. Нажмите и удерживайте кнопку Reset в течение 10 секунд, чтобы выполнить сброс устройства до заводских настроек. Ознакомьтесь с полным руководством пользователя веб-интерфейса Shelly Motion 2.
5. Установка подставки
[править]
Вставьте два L-образных выступа поворотного рычага подставки в продолговатые отверстия корпуса устройства, а затем сдвиньте подставку в направлении, противоположном зарядному порту, как показано выше.
6. Настенное крепление
[править]Используйте трафарет, напечатанный в конце руководства пользователя и руководства по технике безопасности (входит в комплект поставки), чтобы отметить стену, на которой вы хотите установить устройство. Используйте винты с диаметром головки от 5 до 8 мм.
⚠ВНИМАНИЕ! Устройство предназначено только для использования внутри помещений!
⚠ВНИМАНИЕ! Берегите устройство от грязи и влаги!
⚠ВНИМАНИЕ! Не используйте устройство во влажной среде и избегайте попадания брызг воды.
Схема обнаружения
[править]
На изображении выше показана область обнаружения Shelly Motion 2 -
A:
Вид сбоку и
B:
вид сверху (масштаб не соблюден).
⚠ВАЖНО! Shelly Motion не может обнаруживать движение сквозь прозрачные объекты.
⚠ВАЖНО! Прямые солнечные лучи или близко расположенные источники тепла могут вызывать ложные срабатывания датчика движения.
Индикаторы светодиодной индикации
[править]Синий: Режим точки доступа Краткое мигание синего:
Изменены настройки Мигание синего:
Обновление прошивки Краткое мигание красного:
Обнаружено и зафиксировано движение Длительное мигание красного: Ошибка при обновлении прошивки. Кратковременное мигание зеленого: Обнаружение движения не зафиксировано (устройство не подключено или обнаружение движения отключено). Последовательное мигание красного, зеленого и синего: Обнаружение взлома или запуск устройства Кратковременное мигание голубого: Обнаружение движения в режиме точки доступа.
⚠ВАЖНО! Светодиодную индикацию можно отключить.
Действия кнопки сброса
[править]Кратковременное нажатие:
- В выключенном состоянии включает устройство.
- В режиме точки доступа выключает устройство. * В режиме клиента устройство выходит из режима энергосбережения на 3 минуты и отправляет информацию mDNS.
Нажмите и удерживайте 5 секунд: Переводит устройство в режим точки доступа.
Нажмите и удерживайте 10 секунд: Выполняет сброс устройства до заводских настроек.
