Shelly Plus PM Mini
Идентификация устройства
[править]- Название устройства: Shelly Plus PM Mini
- Модель устройства: SNPM-001PCEU16
- SSID устройства: ShellyPMMini-XXXXXX
Краткое описание
[править]Shelly Plus PM Mini (Устройство) — это компактный измеритель мощности. Благодаря гибкости прошивки второго поколения (gen2), он предоставляет профессиональным интеграторам дополнительные возможности для решений для конечных пользователей. Он может работать автономно в локальной сети Wi-Fi или управляться через облачные сервисы домашней автоматизации по протоколам MQTT, HTTP и WebSocket. Все входящие соединения поддерживают TLS.
Устройство Shelly Plus PM Mini может быть доступно пользователю для удаленного доступа, настройки и мониторинга, а также может взаимодействовать с системами автоматизации, если они находятся в одной сетевой инфраструктуре. Устройство имеет встроенный веб-интерфейс, который можно использовать для мониторинга и управления устройством, а также для настройки его параметров.
ВНИМАНИЕ! Устройство не имеет встроенного реле.
Основные области применения
[править]- Жилые помещения
- Многоквартирные дома (квартиры, кондоMiniумы, гостиницы и т. д.)
- Небольшие коммерческие помещения (небольшие офисные здания, небольшие магазины/рестораны/автозаправочные станции и т. д.)
Упрощенная внутренняя схема
[править]Электрические интерфейсы устройства
[править]Входы
[править]- 2 линейных входа на винтовых клеммах: 1 L и 1 N
Выходы
[править]- 2 выхода цепи нагрузки (внутри мостовые): 2 O
Возможности подключения
[править]- Wi-Fi
- Bluetooth (для включения в комплект)
Каждый вариант подключения может быть включен или выключен пользователем.
Функции безопасности
[править]- Внутренний контроль и передача данных о температуре
Поддерживаемые типы нагрузок
[править]- Резистивные (лампы накаливания, нагревательные приборы)
- Емкостные (драйверы светодиодов, конденсаторные батареи, электронное оборудование, пусковые конденсаторы двигателей)
- Индуктивные (трансформаторы, вентиляторы, холодильники, кондиционеры)
Пользовательский интерфейс
[править]Входы
[править]- Одна кнопка (Сброс) Нажмите и удерживайте 5 секунд, чтобы включить точку доступа устройства и соединение Bluetooth. Нажмите и удерживайте 10 секунд, чтобы сбросить устройство до заводских настроек.
Выходы
[править]- Светодиодная (одноцветная) индикация Точка доступа (AP) включена, Wi-Fi выключен: 1 секунда ВКЛ / 1 секунда ВЫКЛ Wi-Fi включен, но не подключен к сети Wi-Fi: 1 секунда ВКЛ / 3 секунды ВЫКЛ Подключен к сети Wi-Fi: Постоянно ВКЛ Облако включено, но не подключено: 1 секунда ВКЛ / 5 секунд ВЫКЛ Подключен к облаку Shelly: Постоянно ВКЛ OTA (обновление по воздуху): ½ секунды ВКЛ / ½ секунды ВЫКЛ Кнопка нажата и удерживается 5 секунд: ½ секунды ВКЛ / ½ секунды ВЫКЛ Кнопка нажата и удерживается 10 секунд: ¼ секунды ВКЛ / ¼ секунды ВЫКЛ
Приведенный выше список начинается с начального состояния устройства и самого низкого приоритета. Каждое следующее состояние отменяет предыдущее.
Технические характеристики
[править]| Тип | Значение |
|---|---|
| Физические | |
| Размеры (ВхШхГ): | 29х35х16 ±0,5 мм / 1,11х1,35х0,63 ±0,02 дюйма |
| Вес: | 13 ±1 г / 0,46 ±0,04 унции |
| Монтаж: | Настенная коробка |
| Максимальный крутящий момент винтовых клемм: | 0,4 Нм / 3,5 фунта |
| Сечение проводника: | 0,5–1,5 мм² / 20–16 AWG |
| Длина зачищенного проводника: | 5–6 мм / 0,20–0,24 дюйма |
| Материал корпуса: | Пластик |
| Цвет: | Светло-серый |
| Условия эксплуатации: | |
| Температура окружающей среды: | -20 °C до 40 °C / -5 °F до 105 °F |
| Влажность | 30 % до 70 % относительной влажности |
| Максимальная высота | 2000 м / 6562 фута |
| Электрические характеристики | |
| Источник питания: | 110 - 240 В переменного тока |
| Внешняя защита: | 16 А, характеристика срабатывания B или C, номинальный отключающий ток 6 кА, класс ограничения энергии 3 |
| Потребляемая мощность: | <1,2 Вт |
| Характеристики выходных цепей | |
| Максимальное измеряемое напряжение: | 240 В переменного тока |
| Максимальный измеряемый ток: | 16 А |
| Максимальная измеряемая мощность: | 3840 Вт |
| Измерение мощности: | Да |
| Защита от перенапряжения / Отключение: | Нет |
| Защита от перегрузки по току / Отключение: | Нет |
| Защита от перегрузки по максимальной мощности / Отключение: | Нет |
| Радио | |
| Диапазон радиочастот: | 2400 - 2495 МГц |
| Максимальная мощность радиочастот: | <20 дБм |
| Протокол Wi-Fi: | 802.11 b/g/n |
| Диапазон действия Wi-Fi: | До 30 м / 100 футов в помещении и 50 м / 160 футов на открытом воздухе (зависит от местных условий) |
| Протокол Bluetooth: | 4.2 |
| Диапазон действия Bluetooth: | До 10 м / 33 футов в помещении и 30 м / 100 футов на открытом воздухе (зависит от местных условий) |
| MCU | |
| Процессор: | ESP32 |
| Флэш-память: | 4 МБ |
| Возможности прошивки | |
| Веб-хуки (действия по URL): | 20 с 5 URL на каждый хук |
| Скриптинг: | Да |
| MQTT: | Да |
| UDP: | Да |
| Скриптинг: | Да |
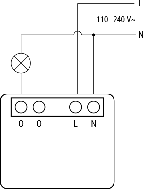
Основные схемы подключения
[править]Легенда
[править]| Клеммы | Провода | ||
|---|---|---|---|
| O | Выходные клеммы цепи нагрузки (внутренне соединены мостом) | L | Провод под напряжением (110-240 В) |
| Л | Клемма фазы (110-240 В) | Н | Нейтральный провод |
| Н | Клемма нейтрали | ||
Поиск и устранение неисправностей
[править]Ваше устройство перегревается.
[править]Убедитесь, что температура окружающей среды не превышает 40 °C / 105 °F. При размещении в замкнутом пространстве Shelly Plus PM Mini может повышать температуру окружающей среды выше допустимых пределов. Обеспечьте вентиляцию устройства.
Руководство по веб-интерфейсу
[править]Прочитайте руководство по веб-интерфейсу Shelly Plus PM Mini
- Это устройство
- Все устройства и сервисы Shelly
Печатное руководство пользователя
[править]Shelly Plus PM Mini многоязычное печатное руководство пользователя и руководство по безопасности.pdf
Соответствие требованиям
[править]Shelly Plus PM Mini многоязычная декларация соответствия ЕС 237 2025-12-05.pdf
Shelly Plus PM Mini UK PSTI ACT Statement of compliance.pdf
Архив соответствия требованиям
Shelly Plus PM mini многоязычная декларация соответствия ЕС 20 2023-10-02.pdf


